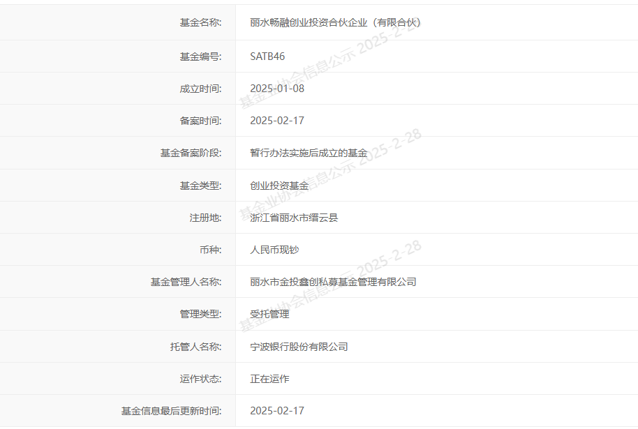
投资界(ID:pedaily2012)消息,2月17日,丽水市金投鑫创私募基金管理有限公司(下称“金投鑫创”)旗下私募基金产品——丽水畅融创业投资合伙企业(有限合伙)(下称“畅融基金”)顺利通过中国证券投资基金业协会备案,这标志着金投鑫创首支自主管理的私募股权投资基金正式组建落地。

金投鑫创由丽水金控牵头设立,本次备案的畅融基金规模4100万元,由市本级基金、缙云县国资及社会资本共同出资设立,重点支持本地产业项目发展和科技创新。
来源:丽水金控
点击获取更多LP资讯
https://www.pedaily.cn/s104/
本文来源投资界,原文:https://news.pedaily.cn/202502/546662.shtml


282803/03








